D バルブ式ミシン縫い袋  [戻る]

NLWWW.COM へ

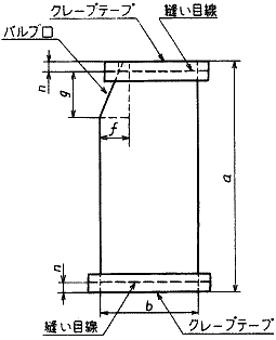
D-1

ひだなし両縫い袋 用途別一覧へ 

kfd-1.gif (5095 バイト)


D-2

ひだ付き両縫い袋 用途別一覧へ 

kfd-2.gif (5924 バイト)

 


Copyright (C) NLI (NEWLONG INDUSTRIAL CO.,LTD.) All Rights Reserved.
http://nlwww.com/jp/document/kf_bag_typed.htm
▲この頁の先頭へ